
PTO DRIVELINE
WARNING: BEFORE ATTEMPTING TO
OPERATE THIS SPREADER, READ AND STUDY
ALL SAFETY INFORMATION. IN ADDITION, MAKE
SURE THAT EVERY INDIVIDUAL WHO OPERATES
OR WORKS WITH THE SPREADER, WHETHER
FAMILY MEMBER OR EMPLOYEE, IS FAMILIAR
WITH THESE SAFETY PRECAUTIONS.
WARNING: DISCONNECT PTO DRIVE SHAFT
AND HYDRAULIC HOSES (RELIEVE HYDRAULIC
PRESSURE) BEFORE CLEANING, ADJUSTING,
LUBRICATING OR SERVICING THIS SPREADER.
FAILURE TO HEED MAY RESULT IN SERIOUS
PERSONAL INJURY OR DEATH.
The Meyer 7200 Industrial Series Spreader is equipped
with a cutout type clutch on the implement half of the
PTO driveline. The clutch is designed to limit the
amount of torque transferred to the machine through the
driveline. If excessive torque is developed the clutch will
disengage. A loud ratcheting sound will be heard and
the transfer of power to the machine will be disrupted.
To reengage the machine simply shut down the PTO
and allow the driveline to come to a stop. The PTO can
then be reengaged to restart the spreader. The cutout
clutch will either reengage upon shut down of the PTO
or just before it comes to a complete stop.
The cutout clutch will disengage if start up is done in an
abrupt or reckless manner. It also will disengage from
foreign materials entering the spinner area of the
spreader. It may also be possible to disengage the
clutch by overloading or flooding the spinners with free
flowing or liquid manure. If PTO clutch fails to reengage
it will be necessary to remove the foreign object from the
spreader before restarting. THERE IS NO FIELD
ADJUSTMENT ON THE CUTOUT CLUTCH.
DANGER: NEVER ENTER THE SPREADER
BOX FOR ANY REASON WITHOUT FIRST
STOPPING THE TRACTOR, SHUTTING THE
TRACTOR OFF AND REMOVING THE KEY,
SETTING THE PARKING BRAKE AND
DISCONNECTING THE PTO DRIVELINE FROM THE
TRACTOR. DO NOT ALLOW OTHERS IN THE BOX.
ROTATING AUGERS CAN CRUSH AND
DISMEMBER. FAILURE TO HEED MAY RESULT IN
SERIOUS PERSONAL INJURY OR DEATH.
DRIVELINE ATTACHMENT
The cutout clutch end of the PTO driveline must always
be attached to the implement. The PTO driveline is
equipped with a 1 3/8-6 spline on the implement half for
attaching to the spreader. Remove the M17-hexagon
bolt from the splined hub and slide the PTO onto the im
-
plement splined input shaft. Install the hexagon bolt
through the hub being sure the bolt is falling into the
groove on the splined shaft. Torque tight using a metric
size M17 6-point socket and torque down to 75 ft. lbs. A
M17 6-POINT METRIC SOCKET MUST BE USED AS
ROUNDING OF HEXAGON BOLT AND INACCU
-
RACY OF TORQUE SETTINGS COULD OCCUR.
If removal of the M-17 hexagon bolt is necessary, use
the same M-17 6-point socket and loosen bolt one turn.
Insert a ¼” drift punch in the hole on the opposite side of
the hexagon bolt and tap to loosen the seated portion of
the bolt from the splined hub. After bolt seat has been
released, remove the bolt. If bolt is not unseated, dam-
age to the hexagon bolt will occur.
Attach the shield safety chain to a suitable area on the
spreader, preferably to the implement PTO steel shield.
PTO SETUP
DANGER: NEVER ATTEMPT TO PERFORM
ANY WORK ON THIS MACHINE FOR ANY REASON
WITHOUT FIRST STOPPING THE TRACTOR,
SHUTTING THE TRACTOR OFF AND REMOVING
THE KEY, SETTING THE PARKING BRAKE AND
DISCONNECTING THE PTO DRIVELINE FROM THE
TRACTOR AND DISCONNECTING THE HYDRAULIC
HOSES AND RELIEVING HYDRAULIC PRESSURE.
FAILURE TO HEED MAY RESULT IN SERIOUS PER
-
SONAL INJURY OR DEATH.
Model 7200 -15-
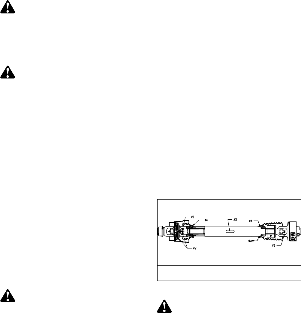
FIGURE 5. PTO DRIVELINE
Comentários a estes Manuais